Allegro MicroSystems APS1329x Planar Hall-Effect Sensor ICs
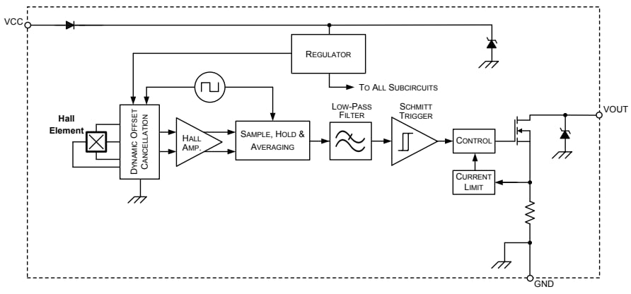
Allegro MicroSystems APS1329x Planar Hall-Effect Sensor ICs are especially suited for operating over extended temperature ranges up to +125°C. APS1329x ICs possess many features designed to maximize system robustness, such as reverse-polarity protection, output current limiter, overvoltage, and EMC protection. These devices feature onboard transient protection for all pins, permitting operation directly from a vehicle battery or regulator with a 2.8V to 24V supply voltage range. The single silicon chip includes a voltage regulator, Hall plate, chopper stabilization, small signal amplifier, Schmitt trigger, and a short-circuit-protected open-drain circuit. A south pole of sufficient strength shifts on the output, while a north pole of sufficient strength is necessary to turn off the output. Allegro MicroSystems APS1329x Sensor ICs are ideal for industrial and consumer applications and offer a junction temperature range of -40°C to +175°C.Features
- Symmetrical latch switch points
- Superior ruggedness and fault tolerance
- Reverse-polarity and transient protection
- Output short-circuit and overvoltage protection
- Superior temperature stability
- Resistant to physical stress
- High EMC immunity
- Chopper stabilization
- Solid-state reliability
- Industry-standard packages and pinouts
Specifications
- ±12kV HBM ESD immunity
- Operation from unregulated supplies, 2.8V to 24V
- 30V forward supply voltage
- 60mA output current
- 800kHz chopping frequency
- –40°C to +175°C junction temperature
- Packages
- Modified 3-pin SOT23W surface mounting (LH)
- 3-pin ultra-mini SIP for through-hole mounting (UA)
Functional Block Diagram
Additional Resources
Published: 2023-05-16
| Updated: 2023-12-13
