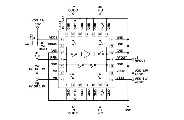
Analog Devices Inc. ADL8112-EVALZ Evaluation Board
Analog Devices ADL8112-EVALZ Evaluation Board offers components ideal for use over the entire -40°C to +85°C operating temperature range of the ADL8112. The ADL8112 10MHz to 26.5GHz amplifiers are low noise amplifiers (LNA) with bypass switches. The 4-layer printed circuit board (PCB) is constructed from 10mil thick Rogers 4350B and Isola 370HR, copper clad, forming a nominal thickness of 62mils. Furthermore, the RFIN and RFOUT ports on the ADL8112-EVALZ are populated with 2.92mm female coaxial connectors, and the affiliated RF traces have a 50Ω characteristic impedance.Access the ADI ADL8112-EVALZ power supply and digital control pins via the surface-mount technology (SMT) test point connectors, VDD_PA, GND, VDD_SW, VSS_SW, VA, and VB.
The RF traces on the ADL8112-EVALZ are 50Ω, grounded, coplanar waveguides. The package ground leads, and the exposed pad connects directly to the ground plane. Multiple vias connect the top and bottom ground planes, focusing on the area directly beneath the ground paddle to deliver sufficient electrical and thermal conduction to the ADL8112-EVALZ.
Features
- 4-layer, Rogers 4350B and Isola 370HR evaluation board
- End launch, 2.92mm RF connectors
- Through calibration path (depopulated)
Required Equipment
- RF signal generator
- RF spectrum analyzer
- RF network analyzer
- 8.5V, 300mA power supply
- +3.3V and -3.3V, 100mA power supplies
Schematic
PCB Layout
Assembly Drawing (J5, J6, J11, and J12 Not Installed)
Published: 2023-06-08
| Updated: 2025-03-14
