Analog Devices / Maxim Integrated MAX30205 Human Body Temperature Sensor
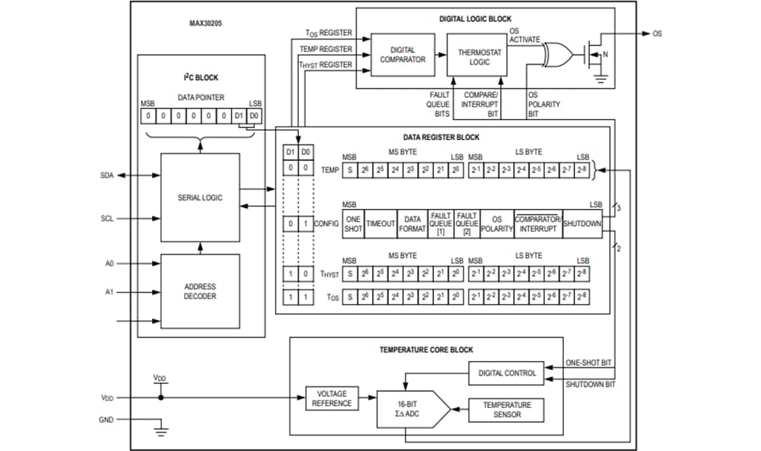
Analog Devices MAX30205 Human Body Temperature Sensor offers ±0.1°C accuracy for thermometer applications. The Analog Devices MAX30205 accurately measures temperature and provides overtemperature alarm, interrupt, and shutdown output. The MAX30205 converts temperature measurements to digital form using a high-resolution, sigma-delta, analog-to-digital converter (ADC). One-Shot and Shutdown Modes help to reduce power usage. Communication is through an I2C-compatible, 2-wire serial interface.The I2C serial interface of the MAX30205 accepts standard write byte, read byte, send byte, and receive byte commands to read the temperature data and configure the behavior of the open-drain overtemperature shutdown output.
The MAX30205 features three select address lines with 32 available addresses. The sensor has a 2.7V to 3.3V supply voltage range, a low 600µA supply current, and a lockup-protected I2C-compatible interface that makes the device ideal for wearable fitness and medical applications.
The Analog Devices MAX30205 Human Body Temperature Sensor is available in an 8-pin TDFN package and operates over the 0°C to +50°C temperature range.
Features
- High Accuracy and Low-Voltage Operation Aids Designers in Meeting Error and Power Budgets
- 0.1°C Accuracy (37°C to 39°C)
- 16-Bit (0.00390625°C) Temperature Resolution
- 2.7V to 3.3V Supply Voltage Range
- One-Shot and Shutdown Modes Help Reduce Power Usage
- 600µA (typ) Operating Supply Current
- Digital Functions Make Integration Easier into Any System
- Selectable Timeout Prevents Bus Lockup
- Separate Open-Drain OS Output Operates as Interrupt or Comparator/Thermostat Output
Applications
- Fitness
- Medical
Videos
Typical Application Circuit
Block Diagram
Published: 2016-10-28
| Updated: 2023-04-21
