Bourns TBU®-PL High-Speed Protectors
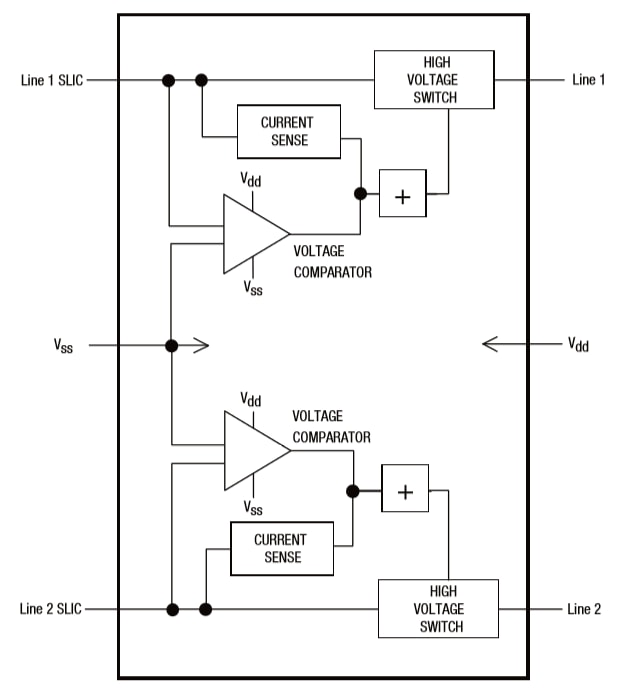
Bourns TBU®-PL High-Speed Protectors feature voltage monitoring on two lines to protect electronics from large voltages or currents during surge events. These protectors will switch to a blocking state if the voltage on a line drops below Vss. Bourns TBU-PL High-Speed Protectors use MOSFET semiconductor technology to protect against faults caused by short circuits, AC power cross, induction, and lightning surges. These protectors are low capacitance, dual bidirectional, and ideal for telecommunication applications.Features
- Superior circuit protection
- Overcurrent and overvoltage protection
- Blocks surges up to rated limits
- High-speed performance
- Small SMT package
- RoHS compliant
Specifications
- 600Vimp to 850Vimp, depending on the model
- 350Vrms to 425Vrms, depending on the model
- -55°C to +125°C operating temperature range
Applications
- Subscriber Line Interface Circuit (SLIC) protection
- Cable and DSL
- Voice / DSL line cards
- Multitenant / multidwelling units (MTU / MDU) modems
- Optical Network Terminal (ONT)
Block diagram
Additional Resource
Published: 2010-08-23
| Updated: 2023-05-02
