Digilent MEASURpoint™ Instrument
Digilent MEASURpoint™ Instrument is a high-precision data acquisition system designed for engineers and researchers who require accurate temperature and voltage measurements. The Digilent MEASURpoint supports a wide range of sensor inputs, including thermocouples, RTDs, and voltage signals, making it ideal for applications in industrial process control, environmental monitoring, and laboratory testing. With up to 48 analog input channels, each equipped with a 24-bit Delta-Sigma ADC, MEASURpoint ensures reliable and high-resolution data collection. The device connects via USB or Ethernet, offering flexible integration into various setups. It comes bundled with QuickDAQ software, which enables easy configuration, real-time data logging, and export to analysis tools like Microsoft Excel® and MATLAB®. MEASURpoint’s robust design and versatile capabilities make it a powerful solution for multi-channel, high-accuracy measurement tasks.Features
- Dedicated 24-bit, Delta-Sigma ADC/ch
- 8DI to 48DI simultaneous analog inputs
- Sampling rates up to 10Hz/ch
- Software selectable ranges of ±10V and ±60VDC (±30VAC) on voltage boards
- 30VAC, 60VDC continuous functional isolation ch‑ch and ch-gnd, verified by a 500Vpk withstand
- Auto-calibrating front-end - resets the zero point on each power-up
- Measurement Instrument Calibration Utility allows for in-field calibration
- 8x input and 8x output digital I/Os
- 48x channels maximum
- Compact, rugged 2U, half-rack enclosure
- Thermocouple input channel
- ±75mV input voltage
- Dedicated CJC (cold junction compensation) input for each thermocouple channel
- Supports B, E, J, K, N, R, S, and T thermocouple types
- Break-detection circuitry detects open thermocouple inputs
- RTD input channel
- ±1.25V input voltage
- 4-wire, 3-wire, or 2-wire PT100, PT500, and PT1000 RTDs supported
- Software
- QuickDAQ
- Acquire and display from all Data Translation USB and Ethernet devices that support analog input streaming
- Acquire data, record data to disk, display the results in both a plot and digital display, and read a recorded data file
- Two additional options can be purchased to add FFT analysis capabilities to the base package
- Also, data can be exported to other applications like Microsoft Excel and MATLAB for more advanced analysis
- IVI-COM driver - works in any development environment that supports COM programming, including Visual Basic®, Visual C#® .NET, MATLAB, VEE Pro, NI LabVIEW® or LabWindow, and others
- SCPI support (DT8874 only) - SCPI (Standard Commands for Programmable Instruments) is a universal programming language for electronic test and measurement instruments, based on the IEEE 488.1 and IEEE 488.2 standards
- QuickDAQ
- Windows® 10/8/7/Vista®/XP 32/64-bit supported operating systems
- 2lbs. weight
Applications
- Industrial process control
- Laboratory testing
- Scientific research
- Multi-channel data acquisition
- Flexible connectivity
- Advanced data analysis
Specifications
- Analog input
- Up to 48 channels
- 24-bit resolution
- 10S/s/ch maximum sample rate
- Simultaneous sampling
- ±10V, ±60VDC (±30VAC) ranges
- Isolation
- ±60V ch-ch (functional)
- ±500V ch-ch (peak withstand)
- Sensors
- Thermocouple
- RTD
- Voltage
- Digital I/O with 16x channels
Resources
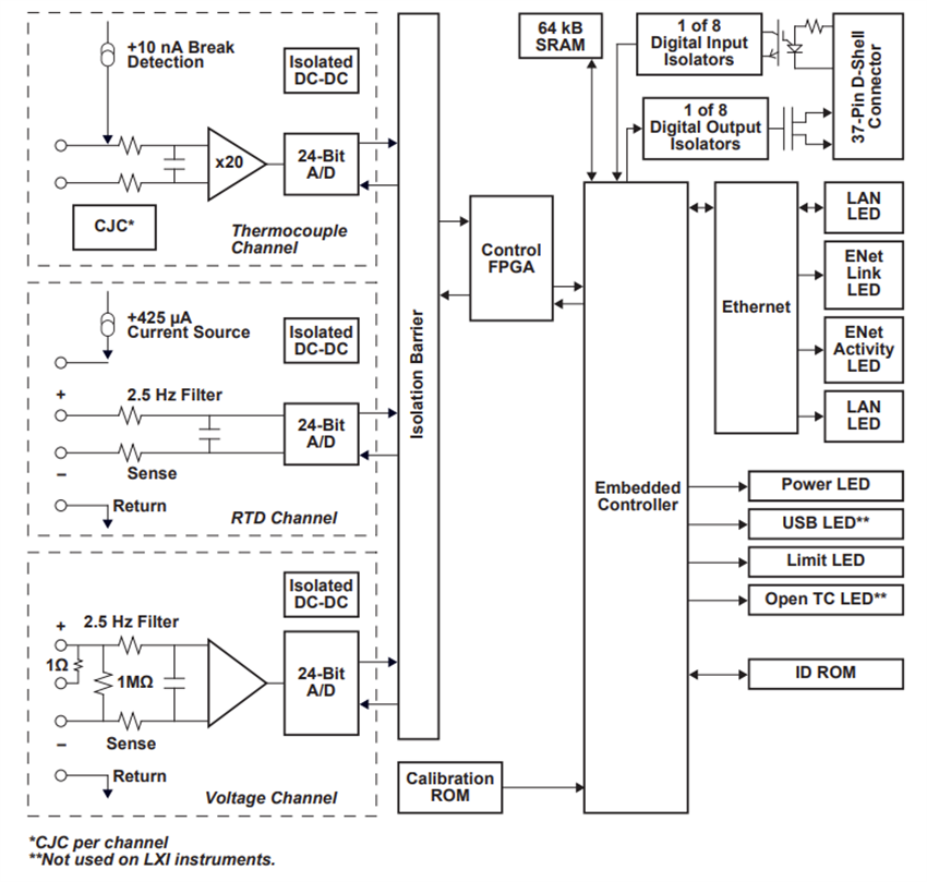
Block Diagram
Published: 2025-07-22
| Updated: 2025-08-01
