Diodes Incorporated PI3HDX612 Active-Drive Signal Duplicator

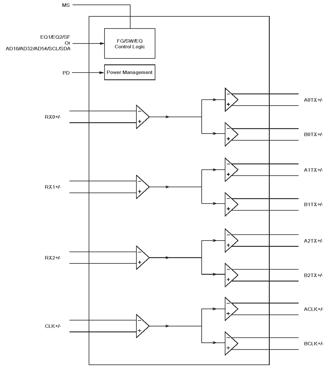
Diodes Incorporated PI3HDX612 Active-Drive Signal Duplicator is designed for HDMI™ 2.0 video networks. The Diodes Incorporated PI3HDX612 converts one channel into two channels, driving signals to multiple displays. Control equalization, gain, and output swing using pins or I2C control depending on the mode select pin.

Features

  • 1-to-2 active signal duplicator for 4-lane HDMI 2.0 operation
  • Data rate supports up to 6Gbps and supports 4K2K pixel resolution
  • Quad-level equalizer gain value selection controlled by pin strap or I2C mode programming
  • Quad-level flat gain and output swing linearity selection controlled by pin strap or I2C mode programming
  • 2KV HBM ESD protection on I/O pin
  • 3.3V single power supply
  • -40°C to +70°C temperature support
  • Totally lead-free and fully RoHS-compliant
  • Halogen- and antimony-free "green" device
  • 40-pin TQFN, 3mm x 6mm (0.4mm pitch) (ZLD) packaging (Pb-free and green)

Applications

  • Display peripheral boxes
  • Digital signage displays
  • Multi-screen splicing

Block Diagram

Block Diagram - Diodes Incorporated PI3HDX612 Active-Drive Signal Duplicator
Published: 2023-10-02 | Updated: 2023-12-07