Epson Timing RX-8571SA/LC Real-Time Clock Modules
Epson Timing RX-8571SA/LC Real-Time Clock Modules offer a 1.6V to 5.5V operating voltage range and 220nA typical backup current. RX-8571SA/LA modules feature a built-in frequency adjusted 32.7kHz crystal unit, I2C-Bus interface, and 128-bit user RAM. These modules have numerous functions, including timers, alarms, and full calendar. Epson Timing RX-8571SA/LC Real-Time Clock Modules operate in the -40°C to +85°C temperature range.Features
- FOE pin enable output on/off control
- Adjustable output frequency
- Timer function
- Alarm function
Applications
- Automotive
- Car multimedia
- Body electronics
- Remote keyless entry
Specifications
- Built-in 32.7kHz crystal unit
- 1.6V to 5.5V operating voltage range
- 220nA//3V backup current
- 128-bit built-in user RAM
- -40°C to +85°C operating temperature range
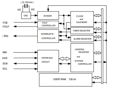
Block Diagram
Published: 2022-04-06
| Updated: 2022-04-12
