Infineon Technologies LITIX™ Interior LED Driver

Infineon Technologies LITIX™ Interior LED Driver for Automotive Ambient Lighting is a three-channel device with integrated and protected output stages. This driver is designed to control RGB LEDs with a current up to 51.5mA as a Linear Current Sink (LCS). The power stages can be configured in parallel for higher load currents and the individual power output stage is configurable via a 5-bit current set value. The LITIX™ LED driver uses LIN interface for programming (via bootloader), control, and diagnostic feedback. This driver features 32kB on-chip flash memory, 3kB on-chip SRAM, and 576Bytes 1000 TP on-chip memory.

Features

  • 3-channel driver (up to 51.5mA each)
  • LIN-interface with LIN-auto-adressing
  • 32-bit Arm® Cortex®-M23 core
  • 32kB on-chip flash and 3kB on-chip SRAM
  • 576Bytes 1000 TP on-chip memory
  • 11Bit ADC for 0V to 8V with differential measurement
  • PWM engine with 16-bit at 610Hz resolution
  • Boot ROM for startup FW flash routines
  • On-chip oscillator
  • Debug with 2-wire SWD
  • 2 extra GPIOs
  • Small leaded package (TFDSO-16)
  • Easy to program a well-known MCU
  • Easy and stable software development
  • Maximal application flexibility
  • Additional sense and control functions

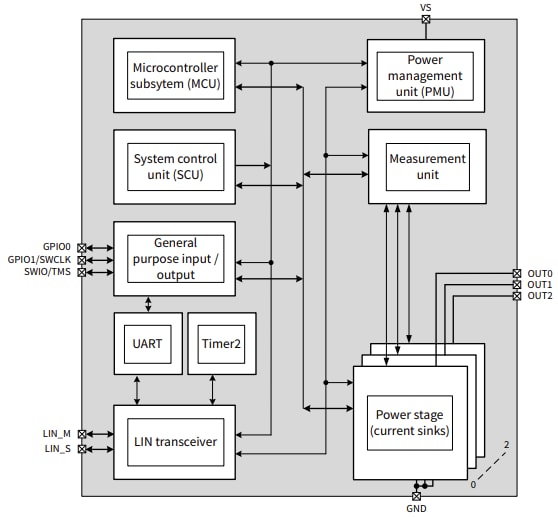
Block Diagram

Block Diagram - Infineon Technologies LITIX™ Interior LED Driver

Typical Application Circuit

Application Circuit Diagram - Infineon Technologies LITIX™ Interior LED Driver
Published: 2025-09-23 | Updated: 2025-10-13