Microchip Technology KSZ8041 Ethernet Transceivers

Microchip Technology KSZ8041 Ethernet Transceivers are single-supply 10BASE-T/100BASE-TX physical layer transceivers that provide MII/RMII/SMII interfaces to transmit and receive data. These transceivers utilize a unique mixed-signal design to extend signaling distance while reducing power consumption. The KSZ8041 transceivers feature HP auto MDI/MDI-X, which provides the most robust solution for eliminating the need to differentiate between crossover and straight-through cables. The LinkMD® TDR-based cables diagnostic permits the identification of faulty copper cabling.

The KSZ8041RNL transceivers are an enhanced RMII version of the KSZ8041NL that does not require a 50MHz system clock. These transceivers use a 25MHz crystal for its input reference clock and output a 50MHz RMII reference clock to the MAC. The KSZ8041NL and KSZ8041RNL transceivers are available in 32-pin and lead-free QFN packages. The KSZ8041TL and KSZ8041FTL transceivers are available in a 48-pin, lead-free TQFP package. The KSZ8041MLL transceivers are provided in the 48-pin and lead-free LQFP package. Typical applications include printers, game consoles, IPTVs, IP phones, IP Set-top boxes, and media converters.

Features

  • Single-chip 10Base-T/100Base-TX physical layer solution
  • Fully compliant with IEEE 802.3u standard
  • Low power
    • Power consumption of <180mW
    • Power-down and power-saving modes
    • Built-in 1.8V regulator for core
  • 3.3V single power supply
  • HP auto MDI/MDI-X for reliable detection and correction for straight-through and crossover cables with disable and enable the option
  • Robust operation over standard cables
  • MII interface support (KSZ8041NL only)
  • RMII interface support
    • External 50MHz system clock (KSZ8041NL or KSZ8041TL/FTL)
    • 25MHz crystal/clock input and 50MHz reference clock output to MAC (KSZ8041RNL)
  • SMII interface support
    • External 125MHz system clock and 12.5MHz sync clock from MAC (KSZ8041TL/FTL only)
  • Fiber support 100Base-FX (KSZ8041FTL only)
  • MIIM (MDC/MDIO) management bus to 6.25MHz for rapid PHY register configuration
  • Interrupt pin option
  • Programmable LED outputs for link, activity, and speed
  • 6kV ESD rating
  • Variety of Packages
    • 32-pin QFN (5mm x 5mm)
    • 48-pin LQFP (KSZ8041MLL)
    • 48-pin TQFP (KSZ8041TL/FTL)

Applications

  • Printers
  • Game console
  • IPTV
  • IP phone
  • IP set-top box
  • Media converter

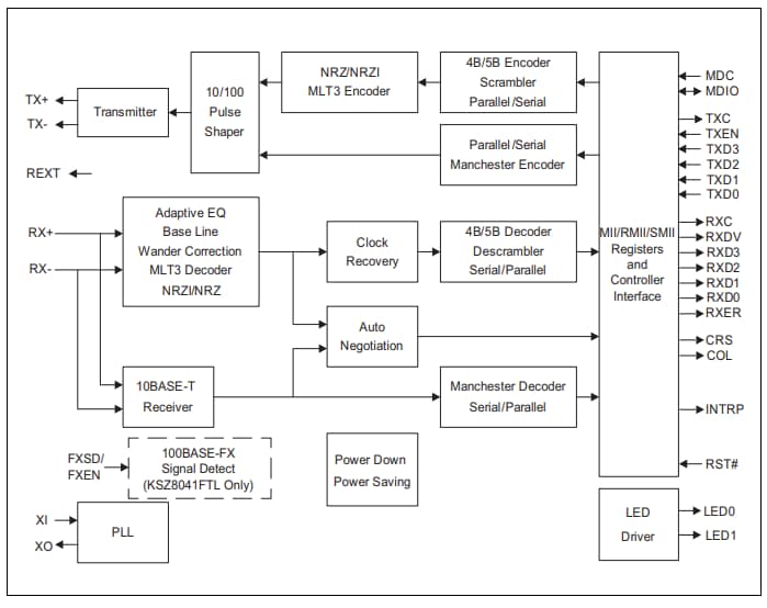
KSZ8041Tl/FTL Ethernet Transceivers Block Diagram

Block Diagram - Microchip Technology KSZ8041 Ethernet Transceivers

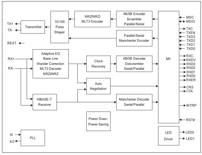
KSZ8041MLL Ethernet Transceivers Block Diagram

Block Diagram - Microchip Technology KSZ8041 Ethernet Transceivers
Published: 2018-06-11 | Updated: 2025-06-13