Renesas Electronics RC38208A-EVK Evaluation Kits
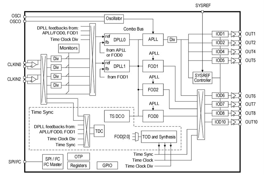
Renesas Electronics RC38208A-EVK Evaluation Kits are used to evaluate the RC38208 FemtoClock™ 3 ultra-low phase noise jitter attenuator/clock generator. The RC38208 are ultra-low phase noise jitter attenuators, multi-frequency clock synthesizers, and digitally controlled oscillators (DCO). These flexible, low-power devices output clocks with ultra-low in-band phase noise and spurious signals for 4G and 5G RF transceivers and with jitter below 18fs RMS for 112Gbps and 224Gbps SerDes.The evaluation boards can evaluate parameters including phase noise, spurious attenuation, clock frequency, output skew, phase alignment, device timing, and the signal waveform. The board's RC38208A accepts any input frequency from 1kHz to 1GHz.
Features
- Two differential clock inputs
- Eight differential clock outputs
- XIN terminal can use a laboratory signal generator or OCXO/TCXO/XO components and board
- Onboard EEPROM stores startup configuration data
- Laboratory power supply connectors
- Serial port for configuration and register readout
- VCO frequency ranges
- 9.8GHz to 10.35GHz for RC38208A1-EVK
- 9.25GHz to 9.85GHz for RC38208A2-EVK
Applications
- Timing for optical front-end DAC/ADC and DSP
- High-performance DCO for precision time protocol (PTP) based clocks
- Reference clock for 112Gbps and 224Gbps SerDes
- 5G distribution units (DU), switches, and routers
Required Equipment
- USB 2.0 or USB 3.0 interface
- 600MB (1.5GB 64-bit) minimum available disk space, 1GB (2GB 64-bit) recommended
- 1GHz minimum processor
- 512MB minimum memory, 1GB recommended
Block Diagram
Published: 2024-10-11
| Updated: 2024-10-23
