STMicroelectronics ST1VAFE3BX Biosensor with vAFE
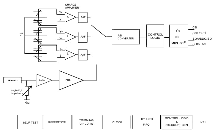
STMicroelectronics ST1VAFE3BX Biosensor with a vertical analog-front-end (vAFE) detects biopotential signals and has a high-performance 3-axis digital accelerometer for motion tracking. The ST1VAFE3BX from STMicroelectronics is designed to be compact, low-noise, and low-power, with a configurable input impedance. The vAFE reads analog signals that complement motion data, synchronizing signals for low-latency, context-aware edge analysis. Its easy integration allows the vAFE and accelerometer to process data independently in the MEMS sensor, offloading tasks from the microcontroller. Advanced features include a finite state machine (FSM), adaptive self-configuration (ASC), and a machine learning core (MLC) for signal processing and exportable AI filters.Features
- Dual channels for biopotential signal detection and motion tracking
- 1.62V to 3.6V supply voltage range
- Independent IO supply (1.62V to 3.6V) for I2C and SPI interfaces
- Independent IO supply (extended range 1.08V to 3.6V) for MIPI I3C® interface
- Ultra-low supply current at 50µA (typ.) with 2.2µA power-down
- Biopotential signal detection channel with analog hub
- Single-channel, differential input amplifier (vAFE)
- Programmable gain and input impedance
- 12-bit ADC resolution
- ODR up to 3200Hz when using the analog hub / vAFE channel only
- Accelerometer channel
- Low noise down to 220µg/√Hz
- ±2g/±4g/±8g/±16g programmable full-scale
- ODR from 1.6Hz to 800Hz
- Embedded machine learning core for analog hub / vAFE data up to 1.6kHz
- Programmable finite state machine for analog hub / vAFE data up to 1.6kHz
- Adaptive self-configuration (ASC) based on the sensor processing output (FSM / MLC)
- Embedded FIFO of up to 128x samples of accelerometer and analog hub / vAFE data or 256x samples of accelerometer data at low resolution
- High-speed I2C/SPI/MIPI I3C digital output interface
- Advanced pedometer, step detector, and step counter
- Self-test
- 2.0mm x 2.0mm x 0.74mm (max), LGA 12-lead package
- 10000g high shock survivability
- ECOPACK and RoHS compliant
Applications
- Biopotential signal detection (ENG, ECG, EEG)
- Wearable and portable devices
- Activity tracking and well-being
Videos
Block Diagram
Published: 2024-09-06
| Updated: 2025-05-08
