Texas Instruments AFEx8101 16 & 14-Bit Low-Power DACs
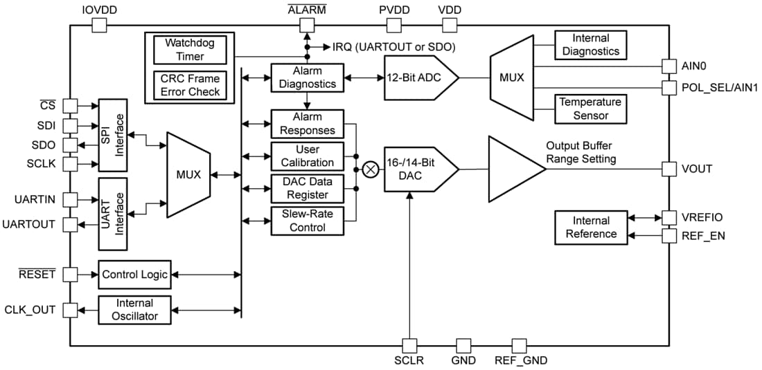
Texas Instruments AFEx8101 16 and 14-Bit Low-Power Digital-to-Analog Converters (DACs) are highly-integrated, high-accuracy, extremely low-power DACs. These come with voltage outputs designed for sensor-transmitter applications. The AFEx8101 devices include most components required to create a 4mA to 20mA, 2-wire (loop-powered) sensor transmitter. In addition to the highly accurate DAC, these devices contain a 10ppm/°C voltage reference and a diagnostic analog-to-digital converter (ADC). External voltage-to-current conversion and power regulation are required to accommodate intrinsic and functional-safety concerns.The internal diagnostic ADC is multiplexed to several internal nodes, enabling an automatic self-health check. This check can detect errors or malfunctions of the internal bias sources, power regulator, voltage reference, DAC output, die temperature, and optional external voltage source. Suppose any fault is detected from the diagnostic ADC, CRC frame-error checking, or windowed watchdog timer. In that case, the devices can optionally issue an interrupt and enter a fail-safe state corresponding to a standard NAMUR output value, user-specified custom value, or both. The Texas Instruments AFEx8101 operates from supplies as low as 1.71V with a maximum quiescent current of 210µA. The devices are specified over the temperature range of –40°C to +125°C but are functional from –55°C to +125°C.
Features
- Functional Safety-Capable
- 170µA (typ) low quiescent current
- 16-bit or 14-bit monotonic high-performance DAC
- 1.8V supply (0.15V to 1.25V, 0.2V to 1.0V)
- 5V supply (0.3V to 2.5V, 0.4V to 2.0V)
- 4LSB INL at 16 bits
- 0.07% FSR (max) TUE from –40°C to +125°C
- 12-bit 3.84kSPS ADC for advanced diagnostics
- Integrated 1.25V reference at 10ppm/°C
- Internal 1.2288MHz oscillator with clock output
- Digital interfaces
- Serial peripheral interface (SPI)
- Universal asynchronous receiver-transmitter (UART)
- Fault detection
- CRC bit error checking
- Windowed watchdog timer
- Diagnostic ADC
- –55°C to +125°C wide operating temperature
Applications
- 2-wire transmitters
- 4mA to 20mA loop-powered applications
- Process control and industrial automation
- Smart transmitters
- PLC or DCS I/O modules
Functional Block Diagram
