Texas Instruments Texas Instruments DAC8568 16-Bit, 8-Channel DACs

Texas Instruments DAC8568 16-bit digital-to-analog converter (DAC) features a 2.5V, 2ppm/°C internal reference (disabled by default), giving a full-scale output voltage range of 2.5V or 5V. The low power consumption, internal reference, and small footprint makes DAC8568 ideal for portable, battery-operated equipment, especially in the medical field for ultrasound data conversion. The internal reference of this TI DAC has an initial accuracy of 0.004% and can source up to 20mA at the VREFIN/VREFOUT pin.

This TI device is monotonic, providing excellent linearity and minimizing undesired code-to-code transient voltages (glitch). It uses a versatile 3-wire serial interface that operates at clock rates up to 50MHz. The interface is compatible with standard SPI, QSPI, Microwire, and digital signal processor (DSP) interfaces. DAC8568 incorporates a power-on-reset circuit that ensures the DAC output powers up at either zero scale or midscale until a valid code is written to the device. It contains a power-down feature accessed over the serial interface that reduces current consumption to typically 0.18µA at 5V. Power consumption (including internal reference) is typically 2.9mW at 3V, reducing to less than 1µW in power-down mode.

Features

  • Relative Accuracy
    • DAC8568 (16-Bit): 4 LSB INL
  • Glitch Energy: 0.1nV-s
  • Internal Reference
    • 2.5V Reference Voltage (disabled by default)
    • 0.004% Initial Accuracy (typ)
    • 2ppm/°C Temperature Drift (typ)
    • 5ppm/°C Temperature Drift (max)
    • 20mA Sink/Source Capability
  • Power-On Reset to Zero Scale or Midscale
  • Ultralow Power Operation: 1.25mA at 5V Including Internal Reference Current
  • Wide Power-Supply Range: +2.7V to +5.5V
  • Monotonic Over Entire Temperature Range
  • Low-Power Serial Interface with Schmitt-Triggered Inputs: Up to 50MHz
  • On-Chip Output Buffer Amplifier with Rail-to-Rail Operation
  • Temperature Range: –40°C to +125°C

Applications

  • Ultrasound
  • Portable Instrumentation
  • Closed-Loop Servo-Control/Process Control
  • Data Acquisition Systems
  • Programmable Attenuation, Digital Gain, and Offset Adjustment
  • Programmable Voltage and Current Sources

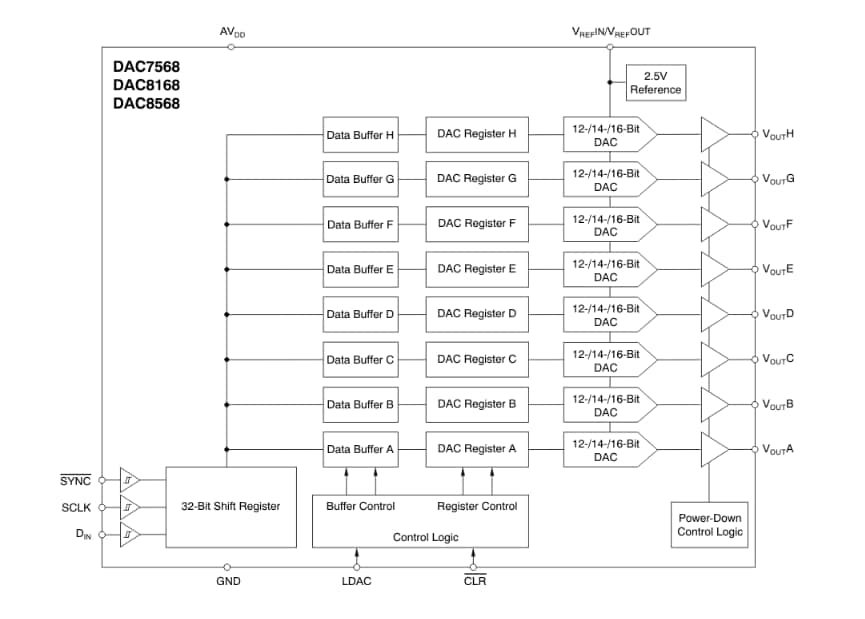
Block Diagram

Block Diagram - Texas Instruments Texas Instruments DAC8568 16-Bit, 8-Channel DACs

TI Reference Design Library

TI Reference Designs - Texas Instruments Texas Instruments DAC8568 16-Bit, 8-Channel DACs
Published: 2013-09-03 | Updated: 2022-03-11