Texas Instruments DACx750 Programmable Current Output DACs

Texas Instruments DACx750 Single-Channel Programmable Current Output DACs are precision, fully-integrated 12-bit and 16-bit digital-to-analog converters (DACs) designed to meet the requirements of industrial process-control applications. These devices can be programmed as a current output with a range of 4mA to 20mA, 0mA to 20mA, or 0mA to 24mA. The DACx750 includes reliability features such as CRC error checking on the serial peripheral interface (SPI™) frame, a watchdog timer, an open circuit, compliance voltage, and thermal alarm. In addition, the output current can be monitored by accessing an internal precision resistor.

Features

  • Current output options
    • 0mA to 24mA
    • 4mA to 20mA
    • 0mA to 20mA
  • ±0.1% FSR typical Total Unadjusted Error (TUE)
  • ±1LSB max DNL
  • AVDD - 2V max loop compliance voltage
  • Internal 5V reference (10ppm/°C, max)
  • Internal 4.6V power-supply output
  • CRC frame error check
  • Watchdog timer
  • Thermal alarm
  • Open circuit alarm
  • Terminals to monitor output current
  • On-chip fault alarm
  • User-calibration for offset and gain
  • -40°C to +125°C wide temperature range
  • 6mm×6mm QFN-40 and TSSOP-24 package

Applications

  • 4mA to 20mA current loops
  • Analog output modules
  • Building automation
  • Environment monitoring
  • Programmable Logic Controllers (PLCs)
  • Field sensors and process transmitters

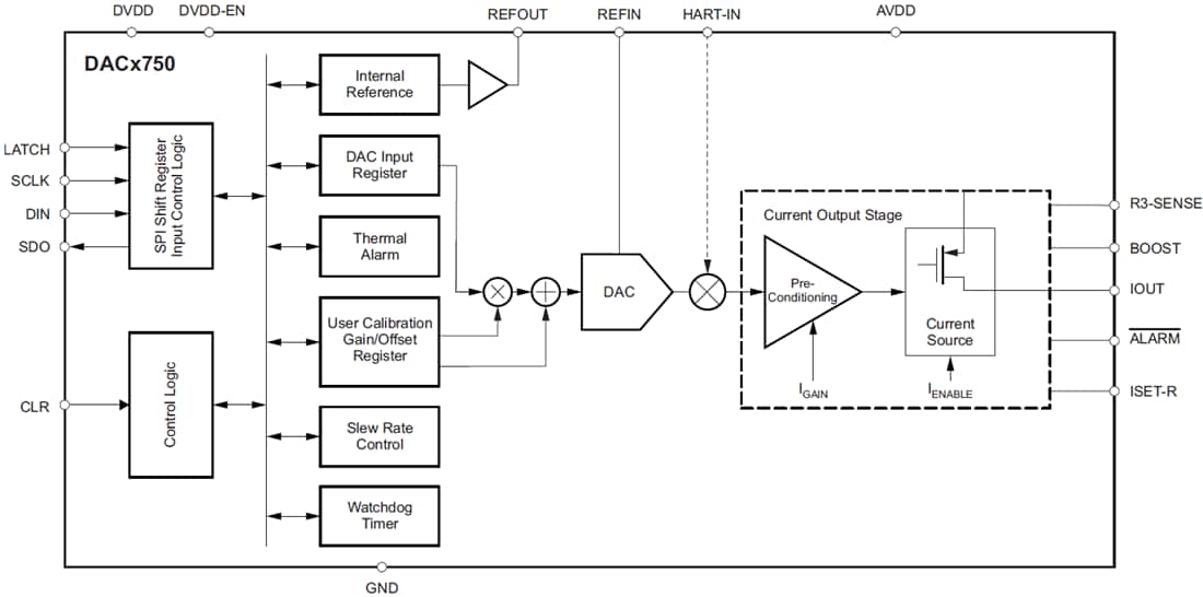
Functional Block Diagram

Block Diagram - Texas Instruments DACx750 Programmable Current Output DACs
Published: 2014-08-18 | Updated: 2022-03-11