Texas Instruments MSP430F261x / MSP430F241x Mixed-Signal MCUs
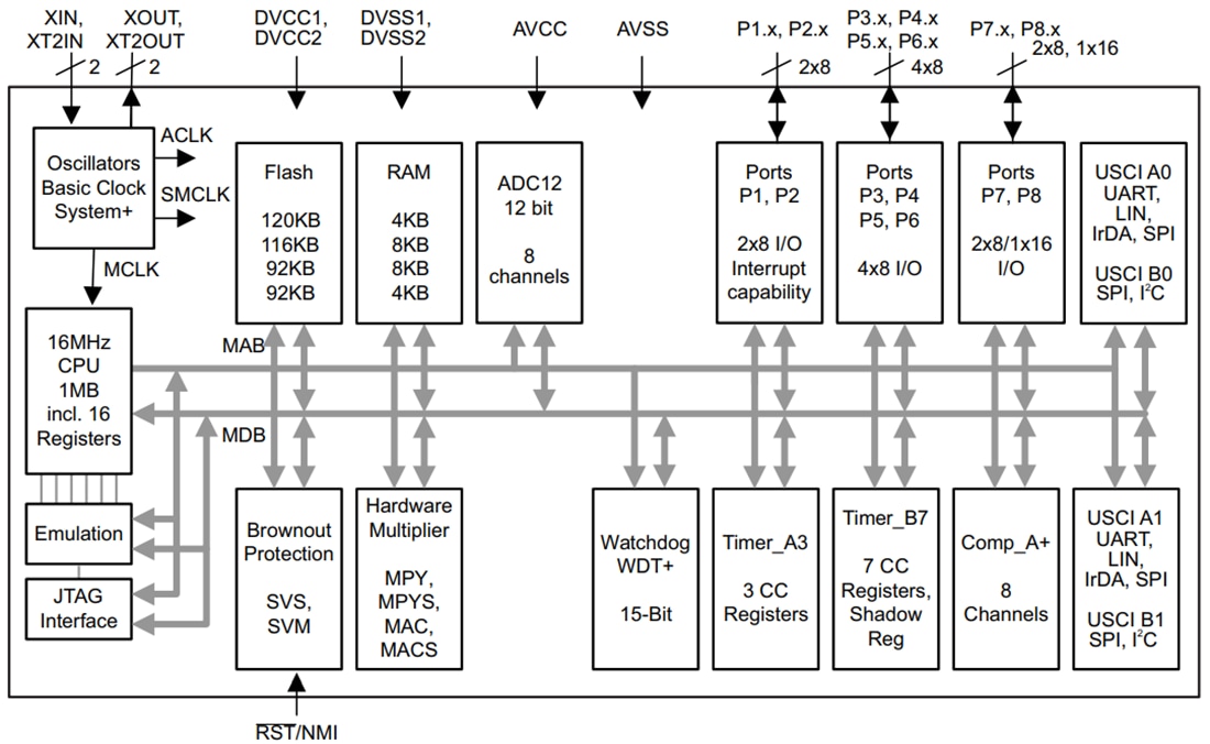
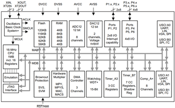
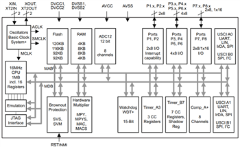
Texas Instruments MSP430F261x / MSP430F241x Mixed-Signal Microcontrollers (MCUs) are part of the MSP430™ family of ultra-low-power MCUs. These MCUs consist of several devices, featuring different sets of peripherals targeted for various applications. The architecture, combined with five low-power modes, is optimized to achieve extended battery life in portable measurement applications. The Texas Instruments MSP430F261x / MSP430F241x series are MCU configurations with two built-in 16-bit timers, a fast 12-bit ADC, a comparator, two 12-bit DACs, four USCI modules, DMA, and up to 64 I/O pins. The MSP430F241x devices are identical to the MSP430F261x devices, with the exception that the DAC12 and the DMA modules are not implemented. The LQFP-64 package is also available as a non-magnetic package for medical imaging applications.Features
- 1.8V to 3.6V low supply voltage range
- Ultra-low power consumption
- 365µA at 1MHz, 2.2V active mode
- 0.5µA standby mode (VLO)
- 0.1µA off mode (RAM retention)
- Wake up from standby mode in less than 1µs
- 16-bit RISC architecture, 62.5ns instruction cycle time
- Three-channel internal DMA (MSP430F261x only)
- 12-bit analog-to-digital converter (ADC) with internal reference, sample-and-hold, and auto-scan feature
- Dual 12-bit digital-to-analog converters (DACs) with synchronization (MSP430F261x only)
- 16-bit Timer_A with three capture/compare registers
- 16-bit Timer_B with seven capture/compare registers with shadow registers
- On-chip comparator
- Supply voltage supervisor and monitor with programmable level detection
- Four universal serial communication interfaces (USCIs)
- USCI_A0 and USCI_A1
- Enhanced UART supporting automatic baud-rate detection
- IrDA encoder and decoder
- Synchronous SPI
- USCI_B0 and USCI_B1
- I2C
- Synchronous SPI
- USCI_A0 and USCI_A1
- Brownout detector
- Bootloader (BSL)
- Serial onboard programming, no external programming voltage needed, programmable code protection by security fuse
- Available in 80-pin quad flat pack (LQFP), 64-pin LQFP, and 113-pin ball grid array (nFBGA)
Applications
- Sensor systems
- Industrial control applications
- Hand-held meters
- Medical imaging applications
Published: 2020-05-27
| Updated: 2025-04-16
