Texas Instruments MSP430F552x/MSP430F551x Mixed-Signal MCUs

Texas Instruments MSP430F552x/MSP430F551x Mixed-Signal Microcontrollers (MCUs) are ultra-low-power MCUs that are configured with an integrated USB and PHY supporting USB 2.0 and four 16-bit timers. These devices include a high-performance 12-bit analog-to-digital converter (ADC), two USCIs, a hardware multiplier, DMA, and an RTC module with alarm capabilities. The MSP430F5528, MSP430F5526, MSP430F5524, and MSP430F5522 microcontrollers include all these peripherals but have 47 I/O pins. The Texas Instruments MSP430F552x/MSP430F551x features a powerful 16-bit RISC CPU, 16-bit registers, and constant generators contributing to maximum code efficiency. The digitally controlled oscillator (DCO) allows the devices to wake up from low-power to active mode in 3.5µs (typical).

Features

  • 3.6V down to 1.8V low supply voltage range 
  • Ultra-low power consumption
    • Active mode (AM)
      • All system clocks are active
        • 290µA/MHz at 8MHz, 3.0V, flash program execution (typical)
        • 150µA/MHz at 8MHz, 3.0V, RAM program execution (typical)
    • Standby Mode (LPM3)
      • Real-time clock (RTC) with crystal, watchdog, and supply supervisor operational, full RAM retention, fast wakeup
        • 1.9µA at 2.2V, 2.1µA at 3.0V (typical)
      • Low-power oscillator (VLO), general-purpose counter, watchdog, and supply supervisor operational, full RAM retention, fast wakeup
        • 1.4µA at 3.0V (typical)
    • Off mode (LPM4)
      • Full RAM retention, supply supervisor operational, fast wakeup
        • 1.1µA at 3.0V (typical)
    • Shutdown mode (LPM4.5)
      • 0.18µA at 3.0V (typical)
  • Wake up from standby mode in 3.5µs (typical)
  • 16-bit RISC architecture, extended memory, up to 25MHz system clock
  • Flexible power-management system
    • Fully integrated LDO with programmable regulated core supply voltage
    • Supply voltage supervision, monitoring, and brownout
  • Unified clock system
    • FLL control loop for frequency stabilization
    • Low-power, low-frequency internal clock source (VLO)
    • Low-frequency trimmed internal reference source (REFO)
    • 32kHz watch crystals (XT1)
    • High-frequency crystals up to 32MHz (XT2)
  • 16-bit timer TA0, Timer_A with five capture/compare registers
  • 16-bit timer TA1, Timer_A with three capture/compare registers
  • 16-bit timer TA2, Timer_A with three capture/compare registers
  • 16-bit timer TB0, Timer_B with seven capture/compare shadow registers
  • Two universal serial communication interfaces (USCIs)
    • USCI_A0 and USCI_A1 each support
      • Enhanced UART supports automatic baud-rate detection
      • IrDA encoder and decoder
      • Synchronous SPI
    • USCI_B0 and USCI_B1 each support
      • I2C
      • Synchronous SPI
  • Full-speed universal serial bus (USB)
    • Integrated USB-PHY
    • Integrated 3.3V and 1.8V USB power system
    • Integrated USB-PLL
    • Eight input and eight output endpoints
  • 12-bit analog-to-digital converter (ADC) (MSP430F552x only) with internal reference, sample-and-hold, and auto scan features
  • Comparator
  • Hardware multiplier supports 32-bit operations
  • Serial onboard programming, no external programming voltage needed
  • 3-channel internal DMA
  • Basic timer with RTC feature

Applications

  • Analog and digital sensor systems
  • Data loggers
  • Connection to USB hosts

MSP430F551x PN Package Block Diagram

Block Diagram - Texas Instruments MSP430F552x/MSP430F551x Mixed-Signal MCUs

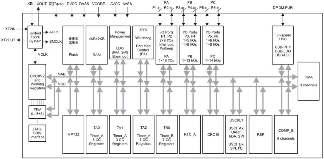
MSP430F551x ZXH ZQE RGC Package Block Diagram

Block Diagram - Texas Instruments MSP430F552x/MSP430F551x Mixed-Signal MCUs

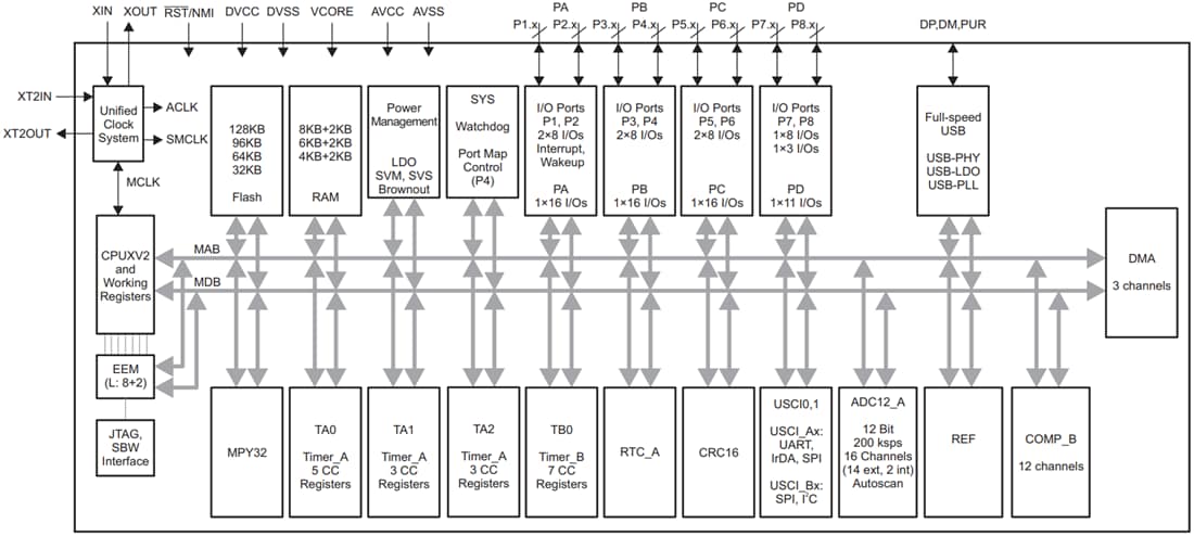
MSP430F552x PN Package Block Diagram

Block Diagram - Texas Instruments MSP430F552x/MSP430F551x Mixed-Signal MCUs

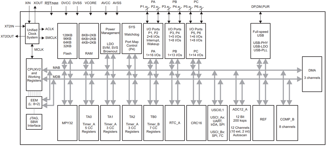
MSP430F552x ZXH ZQE RGC Package Block Diagram

Block Diagram - Texas Instruments MSP430F552x/MSP430F551x Mixed-Signal MCUs
Published: 2020-09-29 | Updated: 2025-04-16