Texas Instruments MSP430F563x Mixed-Signal Microcontrollers

Texas Instruments MSP430F563x Mixed-Signal Microcontrollers consist of several devices featuring different sets of peripherals targeted for various applications. The architecture, combined with extensive low-power modes, is optimized to deliver extended battery life in portable measurement applications. The 16-bit RISC architecture and five low-power modes are optimized for extended battery life in portable measurement applications. The MSP430F563x features a powerful 16-bit RISC CPU, 16-bit registers, and constant generators, contributing to maximum code efficiency. The digitally controlled oscillator (DCO) allows the device to wake up from low-power modes to active mode in 3µs (typical).

The TI MSP430F563x Mixed-Signal Microcontrollers offer a high-performance 12-bit ADC, a comparator, two USCIs, USB 2.0, a hardware multiplier, DMA, four 16-bit timers, an RTC module with alarm capabilities, and up to 74 I/O pins.

Features

  • Low supply voltage range of 1.8V to 3.6V
  • Ultra-low power consumption
    • Active mode (AM):
      • All system clocks active at 270µA/MHz at 8MHz, 3.0V, flash program execution (typical)
    • Standby mode (LPM3):
      • Watchdog with crystal and supply supervisor operational, full RAM retention, fast wake-up of 1.8µA at 2.2V, 2.1µA at 3.0V (typical)
    • Shutdown real-time clock (RTC) mode (LPM3.5) 1.1µA at 3.0V (typical) Shutdown mode, active RTC with crystal
    • 0.3µA at 3.0V (typical) Shutdown mode (LPM4.5)
  • Wake up from standby mode in 3µs (typical)
  • 16-bit RISC architecture, extended memory, up to 20MHz system clock
  • Flexible power-management system
    • Fully integrated LDO with programmable regulated core supply voltage
    • Supply voltage supervision, monitoring, and brownout
  • Unified clock system
    • FLL control loop for frequency stabilization
    • Low-power, low-frequency internal clock source (VLO)
    • Low-frequency trimmed internal reference source (REFO)
    • 32kHz crystals (XT1)
    • High-frequency crystals up to 32MHz (XT2)
  • Four 16-bit timers with 3, 5, or 7 capture/compare registers
  • Two universal serial communication interfaces (USCIs)
    • USCI_A0 and USCI_A1 each support - Enhanced UART supports automatic baud rate detection, IrDA encoder and decoder, synchronous SPI
    • USCI_B0 and USCI_B1 each support the I2C and synchronous SPI
  • Full-speed universal serial bus (USB)
    • Integrated USB-PHY
    • Integrated 3.3V and 1.8V USB power system
    • Integrated USB-PLL
    • Eight input and eight output endpoints
  • 12-bit analog-to-digital converter (ADC) with internal shared reference, sample-and-hold, and auto-scan feature
  • Dual 12-bit digital-to-analog converters (DACs) with synchronization
  • Voltage comparator
  • Hardware multiplier supports 32-bit operations
  • Serial onboard programming, no external programming voltage needed
  • 6-channel internal DMA
  • RTC module with supply voltage backup switch

Applications

  • Analog and digital sensor systems
  • Digital motor control
  • Remote controls
  • Thermostats
  • Digital timers
  • Hand-held meters

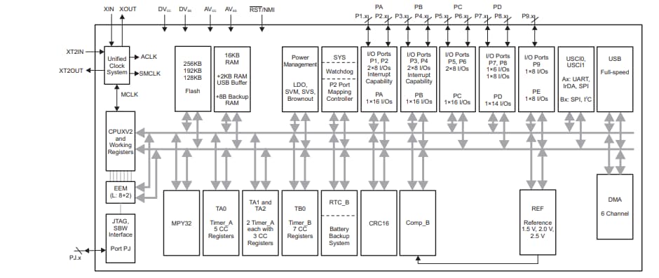
MSP430F5630/31/32 Block Diagram

Block Diagram - Texas Instruments MSP430F563x Mixed-Signal Microcontrollers

MSP430F5633/34/35 Block Diagram

Block Diagram - Texas Instruments MSP430F563x Mixed-Signal Microcontrollers

MSP430F5636/37/38 Block Diagram

Block Diagram - Texas Instruments MSP430F563x Mixed-Signal Microcontrollers
Published: 2020-10-20 | Updated: 2025-07-31