Texas Instruments OPA521 2.5A Narrowband Line Drivers

Texas Instruments OPA521 2.5A Narrowband Line Drivers align a line-driver power amplifier with the power-line communications (PLC) conducted emissions requirements in CENELEC bands A, B, C, and D and ARIB STD-T84 and FCC Part 15. The OPA521 offers high-current, low-impedance lines with reactive loads up to 2.5A. The device uses minimal external protection components with optimized internal protection structures that enable cost- and space-effective systems. A closed-loop gain of –7V/V with 3.8MHz of bandwidth is featured along with a monolithic integrated circuit allowing high reliability in power-line communication applications. A single supply from 7V to 24V operates the OPA521 line driver, providing a typical load current (IOUT = 2.5A, maximum), and a wide output swing gives a 10VPP capability with a nominal 24V supply. Other features include protection against overtemperature and short-circuit conditions and fault detection flags showing current and thermal limits. The device offers a low-power state that consumes 58µA (typical) through an available shutdown pin.

Features

  • Supports:
    • CENELEC Bands A, B, C, D
    • ARIB STD-T84, FCC
    • FSK, SFSK, and NB-OFDM
  • Conforms to:
    • EN50065-1, -2, -3, -7
    • FCC, Part 15
    • ARIB STD-T84
  • Standards:
    • G3, PRIME, P1901.2, ITU-G.hnem
  • Line driver with integrated thermal and overcurrent protection
  • Pin-selectable quiescent current consumption:
    • 58µA in Standby mode (Typical)
    • 51mA for CENELEC Bands A, B, C, D (Typical)
    • 78mA for FCC, ARIB STD-T84 (Typical)
  • 5mm × 5mm 20-Pin VQFN Package
  • TA = –40°C to +125°C Operating junction temperature range

Applications

  • Power quality meter
  • Merchant network and server PSU
  • Lighting
  • Solar Arc protection
  • Central inverters

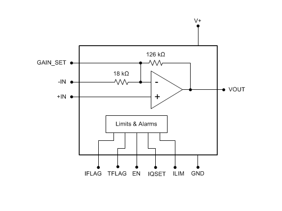
Block Diagram

Block Diagram - Texas Instruments OPA521 2.5A Narrowband Line Drivers
Published: 2018-08-08 | Updated: 2023-02-06