Texas Instruments TAS2572 Digital-Input Class-D Audio Amplifier

Texas Instruments TAS2572 Digital-Input Class-D Audio Amplifier has an integrated Class-H Boost for higher power delivery in battery-operated systems. The device has integrated speaker voltage and current sense (IV-Sense) for real-time monitoring of the loudspeakers. IV-sense data can be used to run speaker protection algorithms on a host DSP to enable high output SPL while keeping speakers in a safe operating region.

The Texas Instruments TAS2572 is optimized to deliver the optimum battery life for real-use cases of music playback and voice calls. Advanced efficiency optimization features like Class-H, Y-bridge, and algorithms enable the device to produce best-in-class efficiency across all power regions of operation. The Class-D amplifier can deliver 6.6W output power using the integrated Class-H 13V Boost.

A battery-tracking peak voltage limiter and a battery voltage monitor ADC enable advanced battery monitoring algorithms on the host processor. This feature manages peak output power delivery while avoiding audio distortion when battery capacity depletes. Up to four devices can share a common bus via I2S/TDM + I2C interfaces.

Features

  • Powerful Class-D amplifier
    • 6.6W 1% THD+N
    • 13V boost with 4.0A max current limit
  • Best-in-class efficiency
    • Up to 90% efficiency at system level
    • 4.8mW idle channel power
    • Integrated Y-bridge
    • Advanced 33mV step size class-H boost
  • High-performance audio channel
    • 7µV A-wt. idle channel noise
    • 109dB dynamic range
    • -90dB THDN
    • Low EMI performance
  • Advanced integrated features
    • Integrated speaker IV Sense
    • Signal detection high-efficiency modes
    • High-accuracy voltage monitor and temp sensor
    • Programmable battery input current limit
  • Ease of use features
    • 1-cell, 2-cell, and 3-cell Li-ion battery support
    • Clock-based power up/down
    • 16kHz to 192kHz auto clock rate detection
    • Integrated ultrasonic tone generator
    • External 14V PVDD supply support
    • MCLK free operation
    • Thermal and over-current protection
    • Programmable drive strength IO buffers
  • Power supplies and user interface
    • VBAT: 2.5V to 5.5V
    • VDD: 1.65V to 1.95V
    • IOVDD: 1.2V or 1.8V
    • I2S/TDM: 8 channels
    • I2C: 4 selectable addresses
  • WCSP package

Applications

  • Mobile phones, tablets, and wearables
  • Smart speakers with voice assistance
  • BLUETOOTH® and wireless speakers

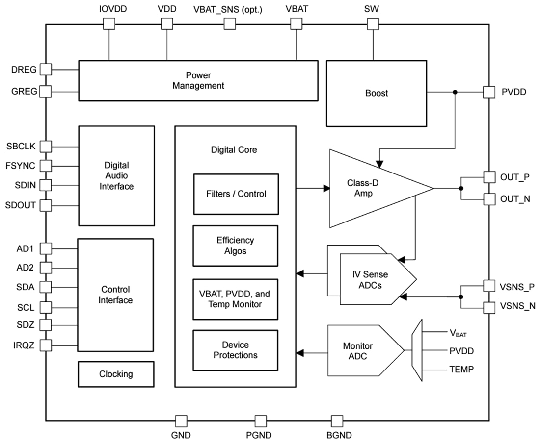
Functional Block Diagram

Block Diagram - Texas Instruments TAS2572 Digital-Input Class-D Audio Amplifier
Published: 2024-03-01 | Updated: 2024-03-14