Texas Instruments TPS1H200A-Q1 Smart High-Side Switch
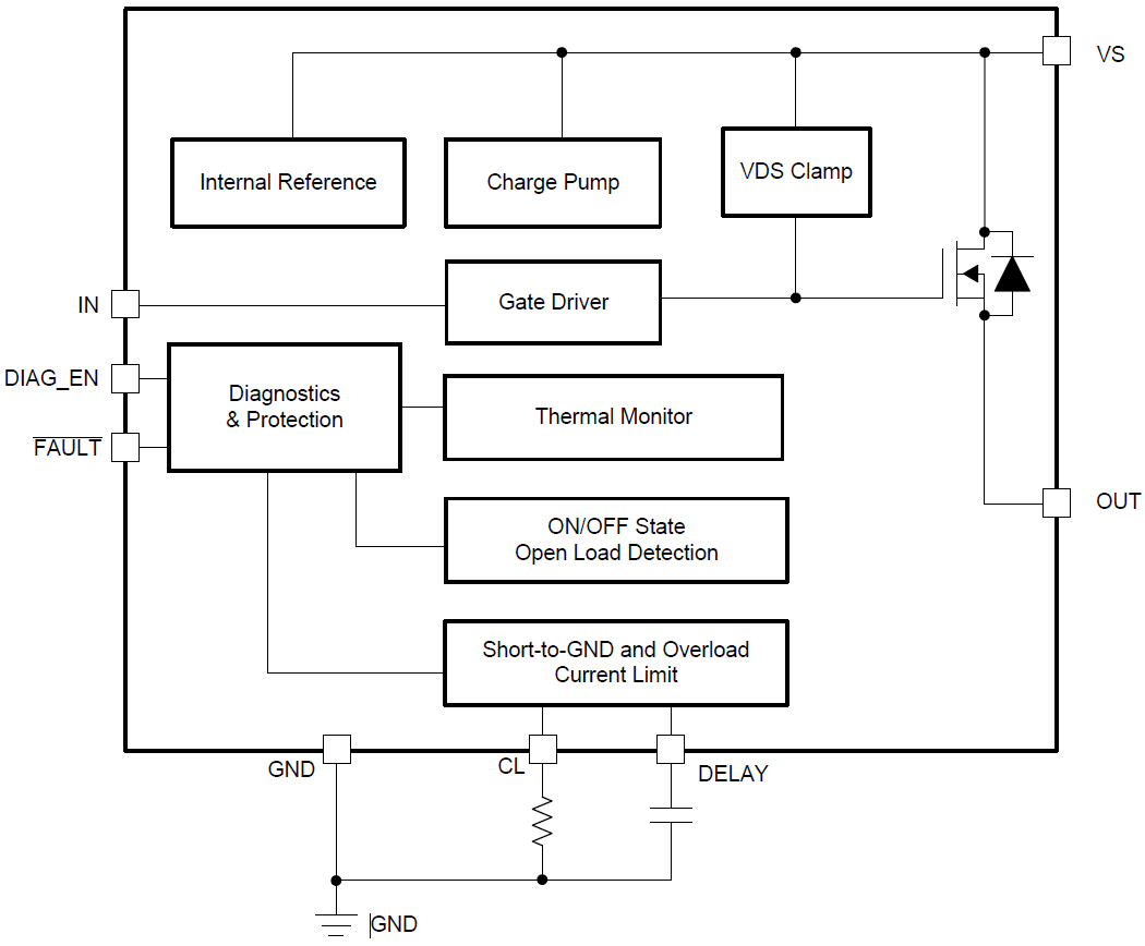
Texas Instruments TPS1H200A-Q1 Single-Channel Smart High-Side Switch is a fully protected single-channel high-side power switch with an integrated 200mΩ NMOS power FET. An adjustable current limit improves system reliability by limiting the inrush or overload current. The high accuracy of the current limit improves overload protection, simplifying the front-stage power design. Besides the current limit, configurable features provide design flexibility in functionality, cost, and thermal dissipation.The device supports full diagnostics with the digital status output. Open-load detection is available in ON and OFF states. The device supports operation with or without an MCU. The stand-alone mode allows isolated systems to use the device.
Features
- Qualified for automotive applications
- AEC-Q100 Qualified with the following results
- Device temperature grade 1 of –40°C to +125°C ambient operating temperature range
- Device HBM ESD Classification Level H2
- Device CDM ESD Classification Level C4B
- Single-channel 200mΩ smart high-side switch
- Adjustable current limit with an external resistor
- ±15% when ≥ 500mA
- ±10% when ≥ 1.5A
- Configurable behavior after the current limit
- Holding mode
- Latch-off mode with an adjustable delay time
- Auto-retry mode
- Wide operating voltage of 3.4V to 40V
- Ultra-low standby current, < 500nA
- Supports stand-alone operation without an MCU
- Protection
- Short-to-GND and overload protection
- Thermal shutdown and thermal swing
- Negative voltage clamp for inductive loads
- Loss of GND and loss of battery protection
- Diagnostics
- Overload and Short-to-GND detection
- Open-load and short-to-battery detection in ON or OFF state
- Thermal shutdown and thermal swing
Applications
- Body lighting
- Infotainment system
- Advanced Driver Assistance Systems (ADAS)
- Single-channel high-side switch for submodules
General resistive, inductive, and capacitive loads
Functional Block Diagram
Published: 2018-07-24
| Updated: 2025-03-06
