Texas Instruments TPS544C26 Synchronous Step-Down Converter
Texas Instruments TPS544C26 Synchronous Step-Down Converter is a highly integrated buck converter with D-CAP+ control topology for the fast transient response. All programmable parameters can be configured by the I2C interface and stored in NVM as the new default values to minimize the external component count. These features make the device well-suited for space-constrained applications. The TPS544C26 device is designed to work with Intel CPUs and fits well for single-phase, low-to-mid current SVID rails in Intel’s server and SoC platforms.Fault management and status reports for the Overcurrent limit, VOUT OVF/UVF, and OTF are provided on the device. The TPS544C26 device offers a complete set of telemetry, including VOUT, IOUT, and IC temperature. Additionally, input power monitoring through an external sensing resistor is provided for board-level power management. The Texas Instruments TPS544C26 device is lead-free and RoHS compliant without exemption.
Features
- Single-chip power supply for SVID rails
- Intel VR13 SVID compliant
- I2C interface with NVM for configuration, telemetry (V/I/T), and fault reporting
- Input power monitoring for DDR5 memory RAPL
- Integrated 4.0mΩ and 1.0mΩ MOSFETs for 35A continuous current operation
- Supports external 5V bias improving efficiency and enabling 2.7V minimum input voltage
- VOUT programmable from 0.25V to 3.04V
- Precision voltage reference and differential remote sense for high output accuracy
- ±0.5% VOUT tolerance from 0°C to 85°C TJ
- ±1% VOUT tolerance from –40°C to 125°C TJ
- D-CAP+™ control topology with a fast transient response, supporting all ceramic output capacitors
- Programmable internal loop compensation, including droop
- Selectable cycle-by-cycle valley current limit
- Selectable operation frequency 0.6MHz to 1.2MHz with DCM or FCCM operation
- Safe start-up into pre-biased outputs
- Programmable soft-start time from 1ms to 16ms
- Programmable soft-stop time from 0.5ms to 4ms
- Open-drain power-good output (VRRDY) and Catastrophic fault indicator (CAT_FAULT#)
- Programmable overcurrent, overvoltage, undervoltage, overtemperature protections
- 5mm × 6mm, 37-pin WQFN-FCRLF package
Applications
- Server and cloud-computing POLs
- Hardware accelerator
- Network interface card
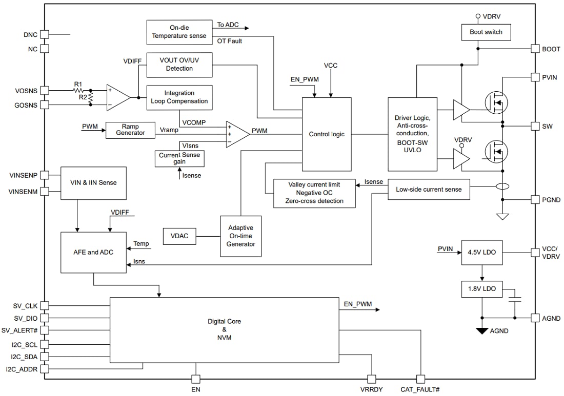
Functional Block Diagram
Published: 2022-10-26
| Updated: 2023-05-02
