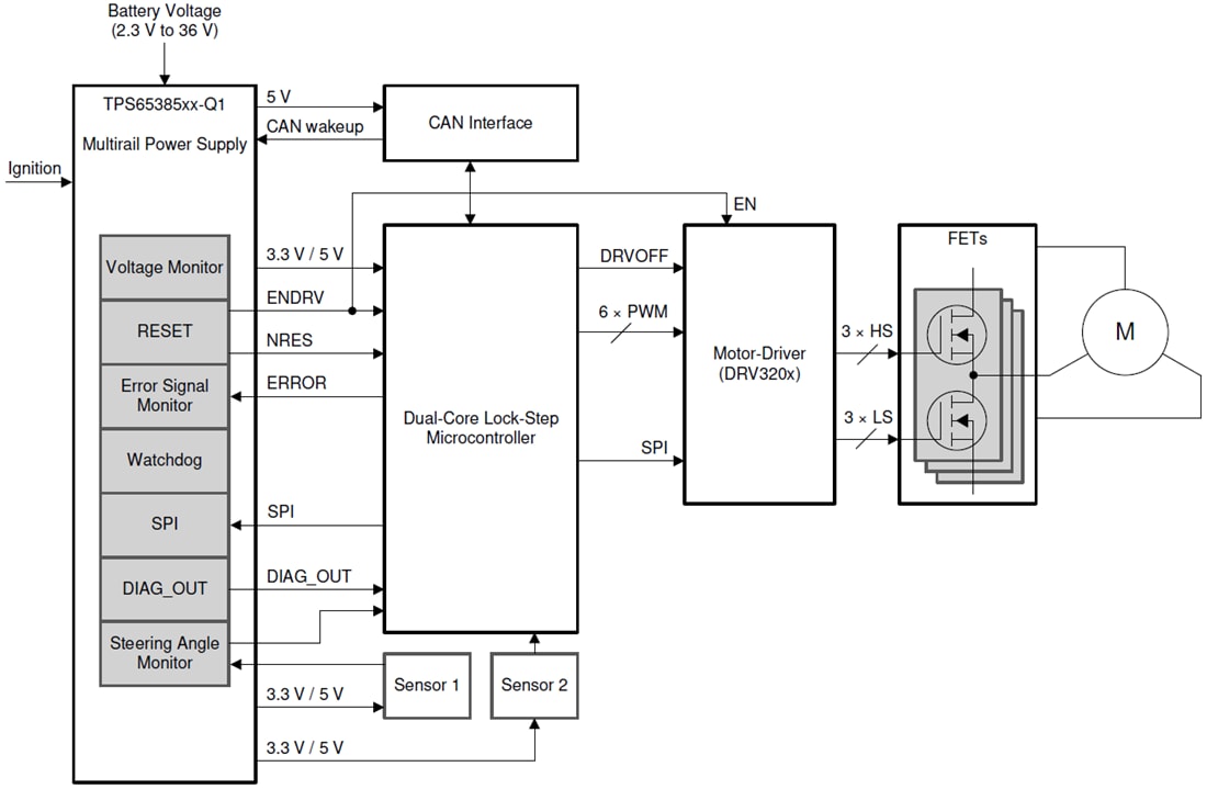
Texas Instruments TPS653853A-Q1/TPS653854A-Q1 Power Supply
Texas Instruments TPS653853A-Q1/TPS653854A-Q1 Multi-Rail Power Supply is designed to supply microcontrollers in safety-relevant applications like those in the automotive industry. The device supports functional safety microcontrollers with dual-core lockstep (LS) and other multi-core architectures. The TPS653853A-Q1/TPS653854A-Q1 integrates multiple supply rails to power the MCU, CAN or FlexRay, and external sensors. With internal FETs, a buck-boost converter converts the input battery voltage between 2.3V and 36V to a 6V pre-regulator output that supplies the other regulators. An integrated charge pump provides an overdrive voltage for the internal regulators and can also be used to drive an external NMOS FET as reverse battery protection. The device supports wake-up from an ignition signal (IGN pin), a CAN transceiver, or another signal (CAN_WU pin).The device has a steering-angle monitoring (SAM) unit that allows the ECU to indirectly capture the steering wheel's position through the motor-position sensors. A dedicated low-power mode enables this SAM unit to operate even when the ECU is in sleep mode. Integrated SAM switches allow passing-through of the Motor-Position Sensor signals to the MCU during normal operation or decoupling the MCU ADC inputs from the motor-position sensor signals when the ECU is in sleep mode.
An independent voltage monitoring unit inside the device monitors undervoltage and overvoltage on all internal supply rails and regulator outputs of the battery supply. Regulator current limits and temperature protections are also implemented. The TPS653853A-Q1/TPS653854A-Q1 features a question-answer watchdog, MCU error-signal monitor, clock monitoring on the internal oscillator, self-check on clock monitor, cyclic redundancy check (CRC) on non-volatile memory and SPI communication. It also features a diagnostic output pin allowing the MCU to observe the device's internal analog and digital signals, a reset circuit for the MCU (NRES pin), and a safety output (ENDRV pin) to disable external power stages on any detected system failure. The device automatically runs a built-in self-test (BIST) at startup, and the MCU may re-run the BIST during system run time through software control if needed. A dedicated DIAGNOSTIC state allows the MCU to check TPS653853A-Q1/TPS653854A-Q1 functionality.
The Texas Instruments TPS653853A-Q1/TPS653854A-Q1 also has an error reporting capability through the SPI register. The device has separate status bits in the SPI register for each specific error on the system level or device level. When the device detects a particular error condition, it sets the appropriate status bit and keeps it until the MCU reads out the SPI register in which this status bit was set. Based on which status bit was set, the MCU can decide whether it must keep the system in a safe state or whether it can resume the operation of the system. The TPS653853A-Q1/TPS653854A-Q1 devices are AEC-Q100 qualified for automotive applications.
Features
- Qualified for automotive applications
- AEC-Q100 qualified with the following results
- Device temperature grade 1 (-40°C to +125°C ambient operating temperature)
- Device HBM ESD Classification Level 2
- Device CDM ESD Classification Level C4B
- Input voltage range
- 7 to 36V for initial battery power up
- 4 to 36V full functionality after initial battery power up
- Minimum 2.3V during operation after wake-up
- Supply rails (with internal FETs)
- 6V synchronous buck-boost pre-regulator
- 5V, 285mA LDO (CAN, peripherals or ADC REF 1% accuracy with 20 to 120mA load)
- 3.3V or 5V, 350mA LDO (MCU) TPS653853A-Q1
- 3.3V 350mA or 5V 500mA LDO (MCU) TPS653854A-Q1
- 2 LDOs protected for sensor supply or peripherals
- 120mA for sensor supply 1 (VSOUT1), 100mA for sensor supply 2 (VSOUT2)
- Configurable tracking mode (tracking input pin), or 3.3V or 5V fixed output voltage
- Short-to-ground and battery protection
- Charge pump: 6V minimum, 11V maximum above battery voltage
- Monitoring and protection
- Independent undervoltage and overvoltage monitoring on all regulator outputs, battery voltage, and internal supplies
- Voltage monitoring circuitry, including independent bandgap reference, supplied from separate battery voltage input pin
- Self-check on all voltage monitoring (during power-up and after power-up initiated by external MCU)
- All supplies are protected with current limit and over-temperature pre-warning and shutdown
- Steering-Angle Monitoring (SAM)
- Two signal comparators for position sensor signals
- Rotation counter
- Low-power mode with periodic sampling of position sensor signals
- Switches for passing-through sensor signals to MCU
- Microcontroller interface
- Open and close window or question-answer watchdog function
- Monitor for functional safety MCU fault output (PWM or level), MCU error-signal monitor
- Diagnostic State for performing device self-tests and system diagnostics
- Safe State for device and system protection upon detected system failure
- Clock monitor for the internal oscillator
- Analog and logic built-in self-test
- CRC on non-volatile memory, as well as device and system configuration registers and SPI communications
- Reset circuit for MCU
- Diagnostic output pin
- SPI with CRC on Command Plus data
- Error reporting through SPI registers for errors on system-level and device level
- Enable drive output for disabling external power stages on any detected system failure
- Wake-up through IGN pin (ignition) or CAN_WU pin (transceiver or other function)
- 48-Pin HTSSOP PowerPAD™ IC package
Applications
- Automotive safety-relevant applications
- Industrial safety-relevant applications
Typical Application Diagram
