Toshiba TC78S121 PWM Dual-Stepping Motor Drivers

Toshiba TC78S121 PWM Dual-Stepping Motor Drivers are chopper type dual-stepping motor drivers that can drive up to four brushed DC motors. The drivers incorporate two pairs of H-bridge drivers, and can drive two DC motors or a single stepping motor. The IC incorporates the VCC regulator for internal circuit operation, so an external power supply (5V) is not required.

Features

  • Single-chip motor driver for bipolar stepping motor control
  • Monolithic IC structured by CD process
  • 0.6Ω low ON-resistance 
  • In large mode, the ON-resistance of combined H-bridges is 0.3Ω
  • Over-current detection (ISD), thermal shutdown (TSD), and VM power-on reset circuits
  • IC incorporates the VCC regulator for internal circuit operation, an external power supply (5V) is not required
  • 40V maximum output withstand voltage
  • Output current
    • 2.0A maximum in DC Motor (S) mode
    • 1.5A maximum in Stepping Motor (S) mode
  • Chopping frequency can be set by an external capacitor and resistor. High-speed chopping is possible at 100kHz or higher.

Specifications

  • 40V maximum motor power supply
  • 40V maximum motor output voltage
  • 2.0A to 5.0A maximum motor output current range
  • 6.0V maximum internal logic power supply
  • 1.3W maximum power dissipation
  • 40kHz to 150kHz chopping frequency setting range
  • -20°C to +85°C operating temperature range

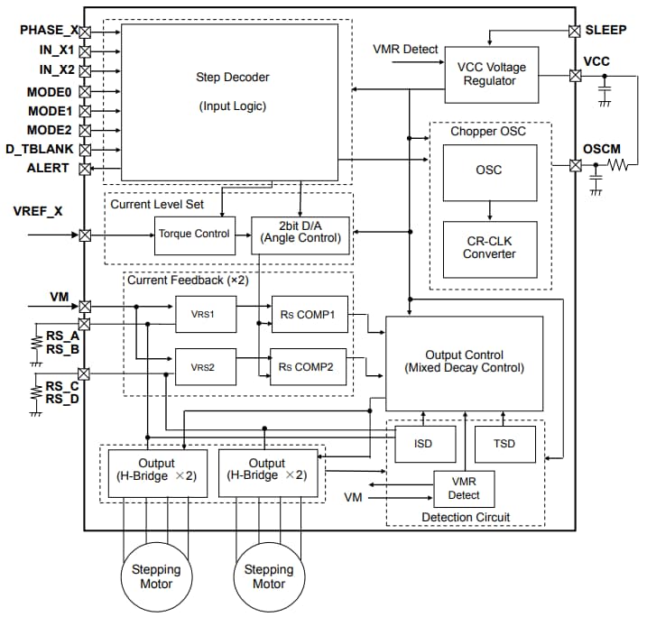
Block Diagram

Block Diagram - Toshiba TC78S121 PWM Dual-Stepping Motor Drivers
Published: 2018-09-06 | Updated: 2025-12-05