Power Partners PDAM120 Power Supplies

Power Partners PDAM120 Power Supplies offer 120W of output power with a high power density of 15.27W/in3. These power supplies have a no-load power consumption of less than 300mW. The PDAM120 power supplies maintain efficiencies of up to 91% and meet the efficiency level-VI requirements. These power supplies feature Class-I or Class-II configuration and meet UL/EN 60601-1 medical approval. Power Partners PDAM120 Power Supplies are best suited for Body Floating (BF) applied part applications.

Features

  • 15.27W/in3 high power density
  • Class I or Class II configuration
  • UL/EN 60601-1 medical approval
  • Efficiencies up to 91%
  • 90VAC to 264VAC input voltage range
  • 47Hz to 63Hz input frequency range
  • Meets efficiency level-VI requirements
  • <300mW no-load power consumption
  • 3.04" x 2" x 1.31" dimensions
  • Small 2" x 3" package
  • Suitable for BF applied part applications

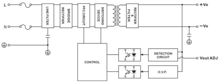
Block Diagram

Block Diagram - Power Partners PDAM120 Power Supplies
Published: 2019-07-09 | Updated: 2025-12-12