Vishay Semiconductors PowerPAK SC-70 MOSFETs

Vishay Semiconductors PowerPAK® SC-70 MOSFET combines the tiny footprint of the SC-70 package with on-resistance comparable to the larger TSOP-6, resulting in very low power consumption in a package 50% smaller than the TSOP-6 and 27% thinner. The Vishay Semiconductor PowerPAK SC-70 MOSFET comes in a variety of configurations and voltage ratings for different applications, including single, single plus Schottky, and dual devices, in both n-channel and p-channel, in addition to n- and p-channel complementary pairs. The PowerPAK SC-70 MOSFET features voltage ranges between 8V and 30V with extremely low on-resistance values down to 0.011Ω at 4.5V.

Features

  • Thermally enhanced PowerPAK® SC-70 package
    • Small footprint area
    • Low on-resistance

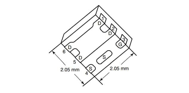
Package Dimensions

Mechanical Drawing - Vishay Semiconductors PowerPAK SC-70 MOSFETs
View Results ( 4 ) Page
Part Number Datasheet Id - Continuous Drain Current Rds On - Drain-Source Resistance Number of Channels
SIA421DJ-T1-GE3 SIA421DJ-T1-GE3 Datasheet 12 A 35 mOhms 1 Channel
SIA413DJ-T1-GE3 SIA413DJ-T1-GE3 Datasheet 12 A 150 mOhms 1 Channel
SIA811ADJ-T1-GE3 SIA811ADJ-T1-GE3 Datasheet 4.5 A 116 mOhms 1 Channel
SIA911ADJ-T1-GE3 SIA911ADJ-T1-GE3 Datasheet 4.5 A 205 mOhms 2 Channel
Published: 2009-04-28 | Updated: 2022-03-11